Sangat Membantu

Katrol Silinder Pejal Ditarik Dengan Gaya F


F101 Dinamika Benda Partikel Contoh Soal 2 Balok Tergantung Pada Katrol Tetap Youtube
m.youtube.com

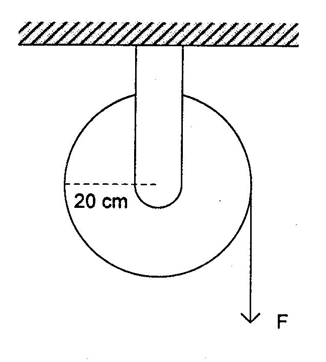
Sebuah Katrol Berbentuk Silinder Pejal Dengan Jari Jari R 20 Cm Dan Bermassa 10 Kg Tergantung Dua Brainly Co Id
brainly.co.id

Dinamika Rotasi
www.slideshare.net

Silinder Pejal Berat 2w Dan Jari Jari R Ditarik Dengan Gaya F Seutas Tali Dililitkan Pada Brainly Co Id
brainly.co.id

Dinamika Rotasi 2 Sistem Katrol Dan Menggelinding Youtube
www.youtube.com

Dinamika Rotasi Part 10 Contoh Sistem Katrol Dengan Katrol Ikut Berputar Youtube
www.youtube.com

Momen Gaya Momen Inersia Percepatan Sudut Youtube
www.youtube.com

Fisika Xi
yoskin.wordpress.com

Soal Dinamika Benda Tegar Dan Pembahasannya Fokus Fisika
fokusfisika.com

Dinamika Rotasi Dan Kesetimbangan Benda Tegar Ppt Download
slideplayer.info

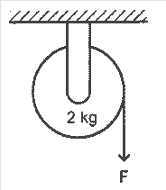
Silinder Pejal Bermassa 2 Kg Berdiameter 20 Cm Ditarik Dengan Gaya F Sehingga Berputar Dengan Brainly Co Id
brainly.co.id

Contoh Soal Percepatan Sudut Rotasi Dan Pembahasannya Soalfismat Com
soalfismat.com

Fisika Arbai Soal Un Fisika Sma Ma 2014 2015 5 8
fisika-arbai.blogspot.com

Dinamika Rotasi Dan Kesetimbangan Benda Tegar Ppt Download
slideplayer.info

Fisika Pages 151 200 Flip Pdf Download Fliphtml5
fliphtml5.com

Pengertian Gerak Rotasi Kinematika Dan Dinamika Rotasi Momen Gaya Inersia Kesetimbangan Benda Tegar Contoh Soal Kunci Jawaban
www.nafiun.com

Soal Kinematika Rotasi Dan Pembahasan 2
www.slideshare.net

Mekanika Katrol Docx
pdfslide.tips

Contoh Soal Dan Pembahasan
www.slideshare.net

Dinamika Rotasi
www.slideshare.net

Contoh Soal Dan Pembahasan Dinamika Rotasi Materi Fisika Kelas 2 Sma Pembahasan A Percepatan Gerak Turunnya Benda M Pdf Download Gratis
docplayer.info

Dinamika Rotasi Quiz Quizizz
quizizz.com

Fisika 2 Kelas 11 Sri Handayani Ari Damari 2009 Pages 101 150 Flip Pdf Download Fliphtml5
fliphtml5.com

Mekanika Katrol Docx
www.scribd.com

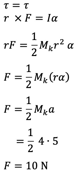
Sebuah Katrol Berbentuk Silinder Pejal I 1 2 Mr2 Dengan Massa 4 Kg Ditarik Dengan Gaya F Hingga Brainly Co Id
brainly.co.id

Fisika Xi
yoskin.wordpress.com

Sebuah Katrol Pejal Dililitkan Tali Pada Sisi Luarnya Seperti Gambar Berikut Gesekan Katrol Dengan Brainly Co Id
brainly.co.id

Titik Berta
id.scribd.com

Soal Soal Katrol Dan Newton
id.scribd.com

Sebuah Katrol Berbentuk Silinder Pejal Homogen Bermassa 2kg Ditarik Oleh Gaya F Tentukan Rk 20cm Brainly Co Id
brainly.co.id

Soal Dinamika Rotasi
id.scribd.com

Dinamika Rotasi
www.slideshare.net

Soal Benda Tegar Docx Pdf Document
vdocuments.net

Sebuah Katrol Berbentuk Silinder Pejal Ditarik Oleh Gaya F Seperti Pada Gambar Di Bawah Jika Brainly Co Id
brainly.co.id

Soal Dan Pembahasan Dinamika Gerak Lurus Fisika Usaha321 Net
usaha321.net

Lks Dinamika Rotasi Benda Tegar
www.slideshare.net

Dinamika Rotasi Dan Kesetimbangan Benda Tegar Ppt Download
slideplayer.info

10 Soal Momen Inersia Doc
id.scribd.com

Fisika 2 Kelas 11 Sri Handayani Ari Damari 2009 Pages 101 150 Flip Pdf Download Fliphtml5
fliphtml5.com

Contoh Soal Dinamika Rotasi
www.slideshare.net

Pembahasan Fisika Un 2015 No 1 5
kakajaz.blogspot.com

Gerak Rotasi Dan Kesetimbangan Benda Tegar
www.yumpu.com

Sebuah Katrol Berbentuk Silinder Pejal Homogen Bermassa 1 Kg Dihubungkan Dengan Sebuah Beban Brainly Co Id
brainly.co.id

Soal Dinamika Benda Tegar Dan Pembahasannya Fokus Fisika
fokusfisika.com

Soal Dinamika Benda Tegar Dan Pembahasannya Fokus Fisika
fokusfisika.com

Tugas Klompok Fisika Dinamika Partikel
id.scribd.com

Dinamika Rotasi Dan Kesetimbangan Benda Tegar Ppt Download
slideplayer.info

Contoh Soal Dan Pembahasan Dinamika Rotasi Materi Fisika Kelas 2 Sma Pembahasan A Percepatan Gerak Turunnya Benda M Pdf Download Gratis
docplayer.info

Pembahasan Fisika Un 2014 No 6 10
kakajaz.blogspot.com

Soal Jawab Osn Fisika 2014
studylibid.com

Doc Dinamika Rotasi Lee Ken Academia Edu
www.academia.edu

Sebuah Katrol Berbentuk Silinder Pejal Homogen Bermassa 2kg Ditarik Oleh Gaya F Tentukan Rk 20cm Brainly Co Id
brainly.co.id

Gerak Menggelinding
id.scribd.com

Pembahasan Soal Un Fisika Tentang Sistem Katrol
www.edutafsi.com

Katrol I Mr2 Ditarik Dengan Gaya F Sehingga Berputar Dengan Percepatan 5 M S2 Mas Dayat
www.masdayat.net

Dinamika Rotasi
www.slideshare.net

Dinamika Rotasi Dan Kesetimbangan Benda Tegar Ppt Download
slideplayer.info

Fisika Xi
yoskin.wordpress.com

Contoh Soal Percepatan Sudut Rotasi Dan Pembahasannya Soalfismat Com
soalfismat.com

Dinamika Rotasi Dan Kesetimbangan Benda Tegar Ppt Download
slideplayer.info

Latihan Dinamika Rotasi Docx
id.scribd.com

Pembahasan Fisika Un 2015 No 1 5
kakajaz.blogspot.com

Silinder Pejal Bermassa 2 Kg Berdiameter 20 Cm Ditarik Dengan Gaya F Sehingga Berputar Dengan Brainly Co Id
brainly.co.id

Soal Pembahasan Fisika Materi Dinamika Rotasi
id.scribd.com

Ulangan Harian Dinamika Rotasi 9n0k3k5q334v
idoc.pub

Rangkuman Contoh Soal Dinamika Rotasi Benda Tegar Dan Pembahasan
tanya-tanya.com

Rotasi Benda Tegar Docx Document
fdokumen.com

Pembahasan Fisika Un 2015 No 1 5
kakajaz.blogspot.com

Kumpulan Soal Dan Pembahasan Soal Ujian Nasional Un Fisika Sma Part 1 Gaya Gammafis Blog
www.gammafisblog.com

Fisika 2 Kelas 11 Sri Handayani Ari Damari 2009 Pages 101 150 Flip Pdf Download Fliphtml5
fliphtml5.com

Rangkuman Contoh Soal Dinamika Rotasi Benda Tegar Dan Pembahasan
tanya-tanya.com

Momen Gaya Dan Momen Inersia Online Momen Gaya Dan Momen Inersia Silinder Pejal Atau Cakram Terhadap Diameter Pusat I M R M 2 4 12 8 Cincin Tipis Terhadap Pdf Document
fdokumen.com

Contoh Soal Dinamika Rotasi
www.slideshare.net

Contoh Soal Dinamika Rotasi Docx Document
fdokumen.com

Pembahasan Soal Un Fisika Tentang Sistem Katrol
www.edutafsi.com

Bagian E Yohanes Surya Com
studylibid.com

Prediksi Un Fisika Sma 2018 Paket A Pembahasan No 6 Cara Cepat Percepatan Katrol Youtube
www.youtube.com

Sebuah Katrol Berbentuk Silinder Pejal Homogen Bermassa 2kg Dihubungkan Dgn Sebuah Beban Bermassa Brainly Co Id
brainly.co.id

Momen Gaya Dan Momen Inersia Online Momen Gaya Dan Momen Inersia Silinder Pejal Atau Cakram Terhadap Diameter Pusat I M R M 2 4 12 8 Cincin Tipis Terhadap
pdfslide.tips

Dinamika Gerak Rotasi1 Pdf Document
fdokumen.com

Pembahasan Soal Dinamika Rotasi Gurumuda Net
gurumuda.net

Katrol I Mr2 Ditarik Dengan Gaya F Sehingga Berputar Dengan Percepatan 5 M S2 Mas Dayat
www.masdayat.net

Torsi Momen Inersia Momentum Anguler Energi Kinetik Rotasi
studylibid.com

Soal Dan Pembahasan Try Out Un Fisika Paket 1 1 15 Fisika
fisikasekolahmadrasah.blogspot.com

Ulangan Harian Dinamika Rotasi
id.scribd.com

1 Sebuah Silinder Pejal Bermassa 2 Kg Dan Jari Jari 20 Cm Berada Di Atas Lantai Datar Silinder Brainly Co Id
brainly.co.id

Contoh Soal Dan Pembahasan
www.slideshare.net

Kumpulan Soal Dan Pembahasan Soal Ujian Nasional Un Fisika Sma Part 1 Gaya Gammafis Blog
www.gammafisblog.com

Dinamika Rotasi Part 10 Contoh Sistem Katrol Dengan Katrol Ikut Berputar Youtube
www.youtube.com

Soal Dinamika Benda Tegar Dan Pembahasannya Fokus Fisika
fokusfisika.com

Rangkuman Contoh Soal Dinamika Rotasi Benda Tegar Dan Pembahasan
tanya-tanya.com

Pembahasan Fisika Un 2015 No 1 5
kakajaz.blogspot.com

Soal No
id.scribd.com

Soal Dan Pembahasan Fisika Part 2
www.slideshare.net

Soal Dan Pembahasan Dinamika Gerak Lurus Fisika Usaha321 Net
usaha321.net

Menghitung Percepatan Tali Katrol Silinder Pejal Yang Ditarik Gaya F Youtube
www.youtube.com

Pembahasan Soal Un Fisika Sma
www.slideshare.net

6 Sebuah Katrol Bermassa M Ditarik Oleh Gaya F Sehingga Berputar Dengan Percepatan Sudut A Jika Brainly Co Id
brainly.co.id

Soal Latihan Olimpiade Fisika Sma
www.slideshare.net

Sebuah Roda Berbentuk Silinder Pejal Homogen Digantungkan Pada Sumbunya Seperti Pada Gambar Di Brainly Co Id
brainly.co.id

close